X

Ford запатентовал ручной переключатель передач для электромобилей

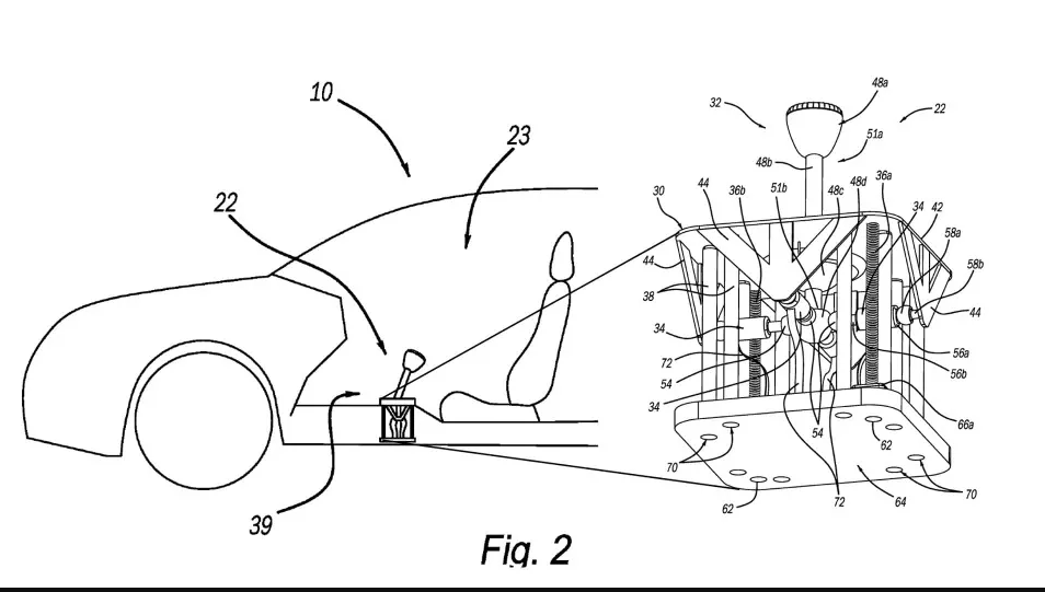
Ford подал нестандартную патентную заявку, которая выглядит как первоапрельская шутка. Производитель намерен зарегистрировать ручной переключатель передач для электромобилей.

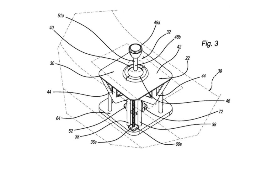
Согласно патенту, модель рычага для электромобилей в точности имитирует традиционный переключатель передач. Он даже располагается на привычном месте, но при этом не несет никакого функционала. Рычаг, в соответствии с описанием, не переключает никакие механические шестеренки, так как их просто нет в этой конструкции, а лишь имитирует процесс.

Отмечается, что этот рычаг можно перемещать по классической схеме “H” или последовательно вверх и вниз, тем самым имитируя переключение передач. То есть этот рычаг коробки передач просто должен обеспечить водителям тактильную обратную связь и сделать вождение электрокара более привычным. Примечательно, что инженеры Ford даже оснастили рычаг КПП специальными встроенными моторчиками, которые создают реалистичные вибрации, как у авто с ДВС.

Читайте также:
Rivian запатентовал инновационную палатку на крыше