
Ford Bronco 2020 получит съемные двери
В конце марта на патентных изображениях Ford Global Technologies был представлен будущий внедорожник от американского производителя, двери которого можно снять. Транспортное средство, изображенное на этих изображениях, выглядит немного меньше, а сами двери немного отличаются.
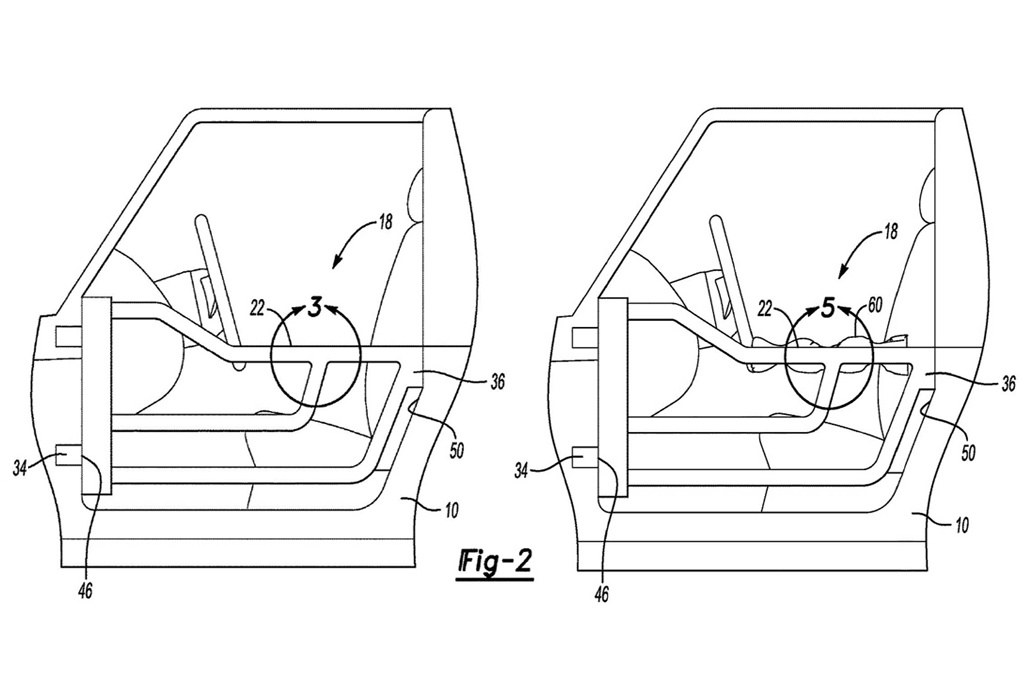
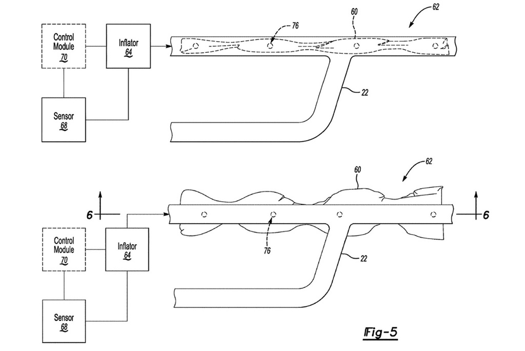
Один особенно интересный аспект съемных дверей, описанных в патентах, поданных в ведомство по патентам и товарным знакам США, заключается в том, что они подробно описывают, как подушка безопасности может быть встроена вокруг горизонтальной трубчатой опоры, которая расположена там, где обычно находится дверь. Патент описывает, как газ под высоким давлением может быть направлен через трубчатую конструкцию для надувания этой подушки безопасности.
«Это описание в целом относится к надувному устройству, которое может защитить пассажира транспортного средства. Более конкретно, изобретение относится к надувному устройству для использования в транспортном средстве, оборудованном съемной дверью, когда съемная дверь отсоединяется от транспортного средства», – описывается в патенте.
Конечно, публикация этих патентов никоим образом не подтверждает, что долгожданный новый Bronco получит съемные двери, но мы готовы поспорить, что так и будет. В конце концов, Ford должен будет убедить покупателей сесть за руль Bronco, а не Jeep Wrangler, который, как мы знаем, доступен со съемными дверными панелями.
Полностью новый Ford Bronco предположительно будет запущен в конце 2020 года. Отдельный патент, изданный в конца марта, описывает, что новый Bronco может иметь съемную тканевую крышу.





























