Ford подал нестандартную патентную заявку, которая выглядит как первоапрельская шутка. Производитель намерен зарегистрировать ручной переключатель передач для электромобилей.
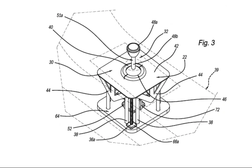
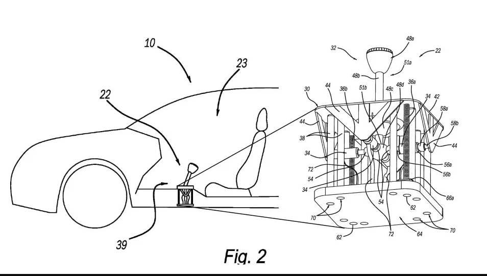
Согласно патенту, модель рычага для электромобилей в точности имитирует традиционный переключатель передач. Он даже располагается на привычном месте, но при этом не несет никакого функционала. Рычаг, в соответствии с описанием, не переключает никакие механические шестеренки, так как их просто нет в этой конструкции, а лишь имитирует процесс.

Отмечается, что этот рычаг можно перемещать по классической схеме "H" или последовательно вверх и вниз, тем самым имитируя переключение передач. То есть этот рычаг коробки передач просто должен обеспечить водителям тактильную обратную связь и сделать вождение электрокара более привычным. Примечательно, что инженеры Ford даже оснастили рычаг КПП специальными встроенными моторчиками, которые создают реалистичные вибрации, как у авто с ДВС.

-
Ретро 12 апреля 2026 17:00Как автобусами ЛАЗ начали перевозить космонавтов12 апреля 1961 года специально переоборудованный автобус ЛАЗ-695Б был использован для доставки космонавта Юрия Гагарина к месту исторического старта первого обитаемого космического корабля «Восток-1». Этот автобус для космонавтов внешне почти не отличался от базовой серийной машины ЛАЗ-695Б. Но кузов его получил дополнительное антикоррозионное покрытие очень высокого качества. А вот салон, конечно же, был совершенно другим. Особое внимание уделили его герметизации, дабы защитить от попадания пыли – злейшего врага космонавтов. В самом центре салона были установлены два оригинальных кресла – для космонавта и его дублера, тоже разработанные во Львове. Поскольку космонавты перевозились в громоздких скафандрах, кресла получились немаленькими. Для регулировки микроклимата внутри скафандра применялась специальная аппаратура. В оборудование салона входили кино- и радиоустановка, телефон и средства спецсвязи. Естественно, салон был снабжен кондиционером. В автобусе имелось 10 мест для сопровождающих – врачей, технических специалистов и даже киношников, а в корме машины находился туалет. Автобус работал на космодроме «Байконур» вплоть до 1967 года, и за это время доставил к месту старта 12 космонавтов, не считая дублеров. Ныне он хранится в мемориальном музее на родине первого космонавта – в городе Гагарин, Смоленской обл. В 1967 году для перевозки космонавтов стали использовать другой автобус. По внутреннему оборудованию он почти не отличался от предшественника, но база у него была другая – ЛАЗ-695Е. А автобус нового поколения для космонавтов появился в 1974 году. Машина была разработана во Львове, в ГСКБ – головном конструкторском бюро по автобусам. Базой послужила новейшая, туристическая модель ЛАЗ-699Н «Україна», тогда еще опытная.ЛАЗ-699Н в "космическом" исполнении -
Ретро 11 апреля 2026 21:21Первым легковым автомобилям Toyota исполнилось 90 лет -
Событие 11 апреля 2026 18:01Расшифровка значков на приборной панели