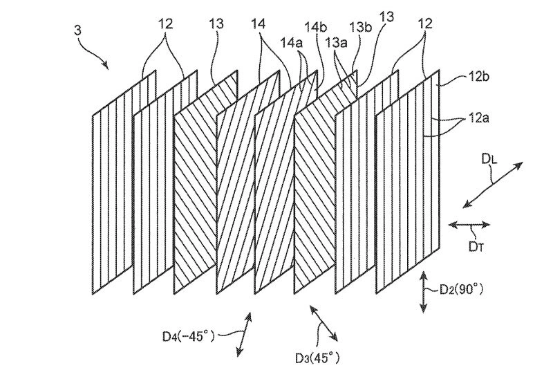
На днях Mazda Motor получила патенты на автомобильные шасси из композитных материалов. В них описаны карбоновый монокок и сама структура материала, из которого он изготовлен. Как видно на прилагаемых к патенту рисунках, он состоит из восьми наложенных друг на друга слоев углеродной ткани с разнонаправленным плетением. Такая структура обеспечивает материалу высокую прочность во всех направлениях.
Использование композитных материалов позволяет снизить массу автомобиля при сохранении прочности и устойчивости к деформациям. Но есть у углепластика и недостатки. Он хрупкий, неремонтопригодный, трудоемкий в изготовлении и дорогой.

В основном углепластик используют в спортивных автомобилях. Как правило, для навесных внешних элементов. Первым крупносерийным автомобилем с несущим монокок был BMW i3 2013 модельного года.

По всей вероятности, Mazda рассматривает возможность серийного использования карбонового шасси. Первым его могло бы получить возрожденное купе Mazda RX.
Вторым правообладателем разработка записан концерн Nippon Steel Chemical & Material Co.
-
Ретро 12 апреля 2026 17:00Как автобусами ЛАЗ начали перевозить космонавтов12 апреля 1961 года специально переоборудованный автобус ЛАЗ-695Б был использован для доставки космонавта Юрия Гагарина к месту исторического старта первого обитаемого космического корабля «Восток-1». Этот автобус для космонавтов внешне почти не отличался от базовой серийной машины ЛАЗ-695Б. Но кузов его получил дополнительное антикоррозионное покрытие очень высокого качества. А вот салон, конечно же, был совершенно другим. Особое внимание уделили его герметизации, дабы защитить от попадания пыли – злейшего врага космонавтов. В самом центре салона были установлены два оригинальных кресла – для космонавта и его дублера, тоже разработанные во Львове. Поскольку космонавты перевозились в громоздких скафандрах, кресла получились немаленькими. Для регулировки микроклимата внутри скафандра применялась специальная аппаратура. В оборудование салона входили кино- и радиоустановка, телефон и средства спецсвязи. Естественно, салон был снабжен кондиционером. В автобусе имелось 10 мест для сопровождающих – врачей, технических специалистов и даже киношников, а в корме машины находился туалет. Автобус работал на космодроме «Байконур» вплоть до 1967 года, и за это время доставил к месту старта 12 космонавтов, не считая дублеров. Ныне он хранится в мемориальном музее на родине первого космонавта – в городе Гагарин, Смоленской обл. В 1967 году для перевозки космонавтов стали использовать другой автобус. По внутреннему оборудованию он почти не отличался от предшественника, но база у него была другая – ЛАЗ-695Е. А автобус нового поколения для космонавтов появился в 1974 году. Машина была разработана во Львове, в ГСКБ – головном конструкторском бюро по автобусам. Базой послужила новейшая, туристическая модель ЛАЗ-699Н «Україна», тогда еще опытная.ЛАЗ-699Н в "космическом" исполнении -
Ретро 11 апреля 2026 21:21Первым легковым автомобилям Toyota исполнилось 90 лет -
Событие 11 апреля 2026 18:01Расшифровка значков на приборной панели