
Ford запатентував нову платформу для пікапа
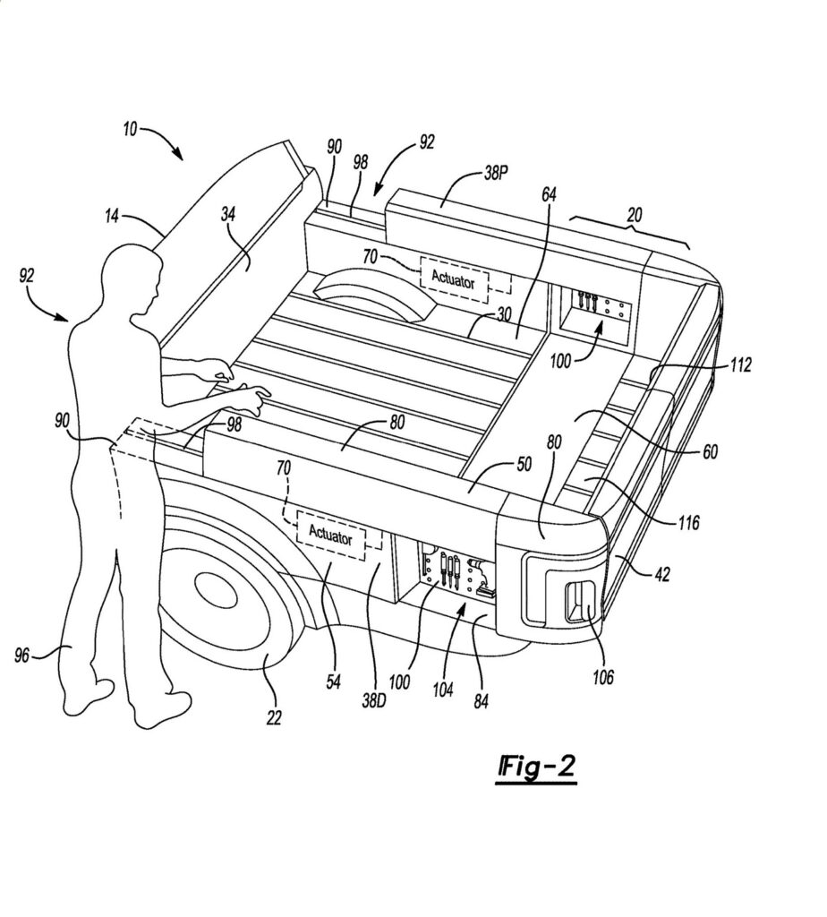
Ford подав заявку до Патентного відомства США на реєстрацію нової конструкції вантажної платформи для пікапа. Судячи з ескізів, компанія розглядає можливість створення висувних бічних стінок вантажної платформи із прихованими відсіками для зберігання інструментів за задніми колесами.
Виглядає це рішення трохи складно. Особливо, якщо врахувати, що Ford F-150 2024 модельного року має цілу низку відсіків для зберігання, доступ до яких здійснюється через просторі двері. Звичайно, витягти предмет з невеликої скриньки простіше, але наскільки це безпечно, сказати складно.

Як зазначено в патенті, максимально зсунуті бічні стінки не заважатимуть роботі стоп-сигналів. При необхідності водій може використовувати вантажну платформу як спальне місце. У компанії вважають, що ця технологія була б ефективною в електрифікованому транспортному засобі. Його акумулятор міг би живити привід, дозволяючи платформі висуватися автоматично та опускати задній борт для полегшення доступу.
Чи з’явиться подібне рішення в серійних автомобілях, Ford не уточнює. Не виключено, що на нього чекає доля безлічі патентів, які так і припадають пилом на полицях.



















