
GM розробляє надувний кунг для пікапа (фото)
General Motors подала патент в Європейське патентне відомство на надувний кунг для пікапа, стійкий до погодних умов. Він має стінки і дах, а також адаптується до потреб користувача.
В GM заявили, що такий чохол є актуальним для цього виду транспорту. Бо на відміну від свого каркасного аналога він може бути надутий як повністю, так і частково, тим самим змінюючи конфігурацію по мірі необхідності й потреби користувача. Кунг розроблений таким чином, що він досить жорсткий й повністю закриває вантажний відсік, тим самим захищаючи вантажі від крадіжок та впливу погодних умов.

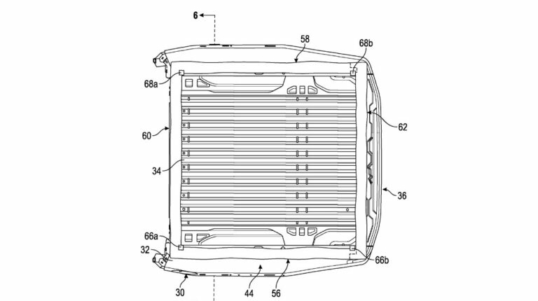
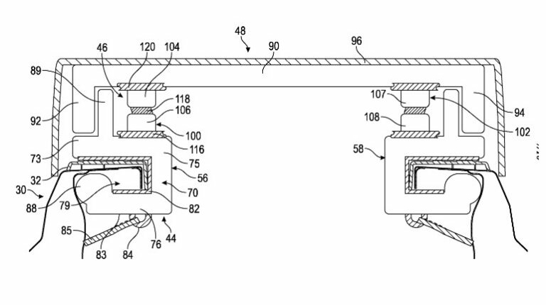
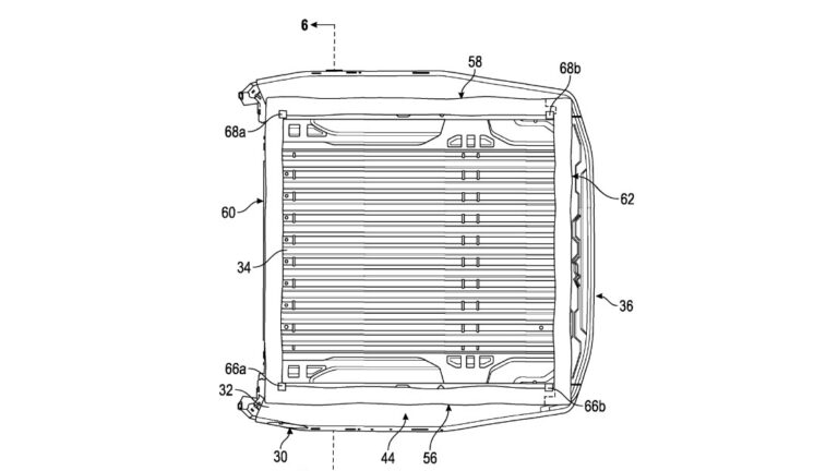
Відзначається, що система складається з декількох ключових компонентів. У їх числі надувна базова рама, боковини й дах. Є спеціальний замикаємий елемент для фіксації кунга на вантажній платформі. А що стосується надуву цього чохла, то для цього передбачений спеціальний насос. Є також блок управління накачуванням і спуском повітря.
Незважаючи на заяви компанії щодо міцності цього чохла для вантажної платформи, скептики висловили сумніви на рахунок його стійкості до проколів і довговічності. На їх думку, цей кунг може легко пошкодитися й пропускати повітря, а значить швидко стане марним.

























