
Toyota придумала автономну АЗС на колесах для заправки на ходу
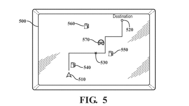
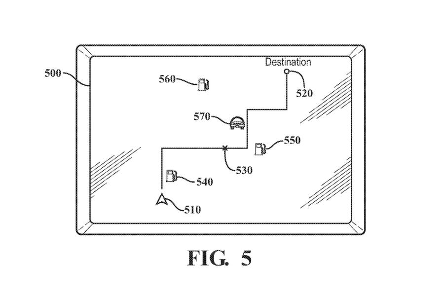
Toyota запатентувала новий роботизований безпілотник, який значною мірою відрізнятиметься від інших транспортних засобів. Його основне завдання — заправляти паливом авто з ДВЗ і заряджати електромобілі в автоматичному режимі. Іншими словами, всі ці маніпуляції відбуватимуться просто під час руху.
Задум сам по собі доволі цікавий. Справа залишилася за малим— реалізацією. Принцип роботи такого роботизованого безпілотника-заправника схожий з процесом дозаправки літаків у повітрі. В авіації дозаправник “підключається” до іншого літака за допомогою шланга, а насоси перекачують паливо на льоту.

За допомогою яких технічних засобів інженери Toyota планують забезпечувати заправку автомобілів класичними видами палива або електроенергією, поки що невідомо. Знаходити тих, хто потребує дозаправки, робот буде за допомогою GPS-трекінгу. Чи доведеться автомобілям зупинятися або все відбуватиметься на ходу, не уточнюється.
Ще одне питання — як будуть відкриватися паливні баки і зарядні лючки? Можливо, для цього в Toyota розроблять якісь перехідники. У будь-якому разі, очікувати швидкої появи безпілотних АЗС на колесах не варто. Питання використання автономних транспортних засобів на дорогах загального користування ще не вирішене.





-104x104-c-default.jpg)






















