Директор по маркетингу Ferrari Энрико Галлиера сообщил, что компания занимается разработкой первого полностью электрического суперкара марки. Правда, появления этого автомобиля придется подождать до 2025-го года.
Такое долгое ожидание связано с тем, что в Ferrari хотят выпустить электромобиль не потому, что так уже сделали другие компании, а потому, что хотят предложить что-то новое. Такое желание итальянцев неудивительно, особенно если вспомнить жалобы генерального директора компании Луи Камиллери на проблемы, с которыми в Маранелло столкнулись во время работы над электромобилем.
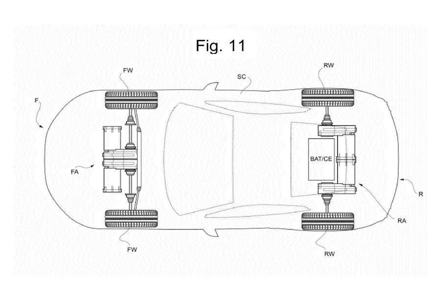
В частности, инженеров не устраивала скорость зарядки аккумуляторов и общий запас хода. Как именно эта проблема будет решена в будущем спорткаре - неизвестно. Пока что мы знаем только то, что есть в патентных документах. А там указано, что компания работает над созданием двухместного суперкара с четырьмя независимыми электромоторами. Каждый из них располагается на отдельном колесе. Такая схема позволит непрерывно корректировать крутящий момент и при необходимости активировать систему рекуперации кинетической энергии.

-
Ретро 12 квітня 2026 17:00Як автобусами ЛАЗ почали перевозити космонавтів12 квітня 1961 року спеціально переобладнаний автобус ЛАЗ-695Б було використано для доставки космонавта Юрія Гагаріна до місця історичного старту першого космічного корабля "Восток-1". Цей автобус для космонавтів зовні майже не відрізнявся від базової серійної машини ЛАЗ-695Б. Але кузов його отримав додаткове антикорозійне покриття дуже високої якості. А от салон, звісно, був зовсім іншим. Особливу увагу приділили його герметизації, щоб захистити від потрапляння пилу —найлютішого ворога космонавтів. У самому центрі салону були встановлені два оригінальні крісла — для космонавта і його дублера, теж розроблені у Львові. Оскільки космонавтів перевозили в громіздких скафандрах, крісла вийшли немаленькими. Для регулювання мікроклімату всередині скафандра застосовувалася спеціальна апаратура. В обладнання салону входили кіно- і радіоустановка, телефон і засоби спецзв'язку. Природно, салон було забезпечено кондиціонером. В автобусі було 10 місць для супровідників – лікарів, технічних фахівців і навіть кіношників, а в кормі машини розміщувався туалет. Автобус працював на космодромі "Байконур" аж до 1967 року, і за цей час доставив до місця старту 12 космонавтів, якщо не рахувати дублерів. Нині він зберігається в меморіальному музеї на батьківщині першого космонавта — в місті Гагарін, Смоленської обл. У 1967 році для перевезення космонавтів почали використовувати інший автобус. За внутрішнім обладнанням він майже не відрізнявся від попередника, але база у нього була інша — ЛАЗ-695Е. А автобус нового покоління для космонавтів з'явився в 1974 році. Машину було розроблено у Львові, в ДСКБ —головному конструкторському бюро щодо автобусів. Базою послужила новітня туристична модель ЛАЗ-699Н "Україна", тоді ще дослідна. ЛАЗ-699Н у "космічному" виконанні -
Ретро 11 квітня 2026 21:21Першим легковикам Toyota виповнилося 90 років -
Подія 11 квітня 2026 18:01Розшифровка значків на панелі приладів