
Найнестандартніший Porsche засвітився на офіційних зображеннях
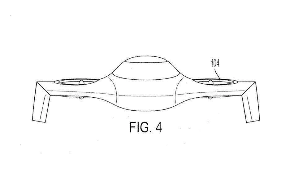
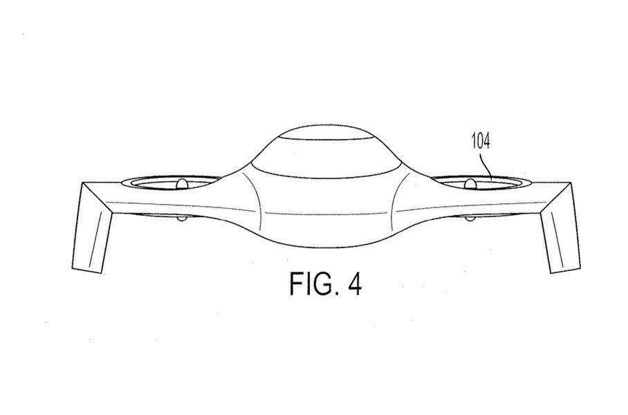
В інтернет потрапили зображення дуже незвичайного Porsche. Це не новий суперкар і навіть не електромобіль, а безпілотний літальний апарат. Про серйозність намірів німецької компанії свідчитьтой факт, що ці ескізи розмістили в бюро із патентів і товарних знаків США.

Раніше стало відомо, що Porsche спільно з Boeing почали розробку безпілотного літального апарата для служб повітряного таксі. Перші його прототипи можуть з’явитися упродовж п’яти років.
Судячи із зображень, летючий Порше оснащений чотирма гвинтами, які приводять в рух електромотори. Два передніх пропелери відповідають за вертикальні зліт і посадку, а поворотні задні – за маневрування.

На ескізах безпілотник є двомісним, хоча не виключена поява і місткіших варіантів з великою кількістю пропелерів.




















