
Ford запатентовал уникальный аккумулятор для электромобилей
Многие автомобилисты отказываются пересаживаться на электромобили из-за ограниченного запаса хода и боязни где-нибудь остановиться на трассе без возможности подзарядки. Компания Ford позаботилась, чтобы такого конфуза не случилось.
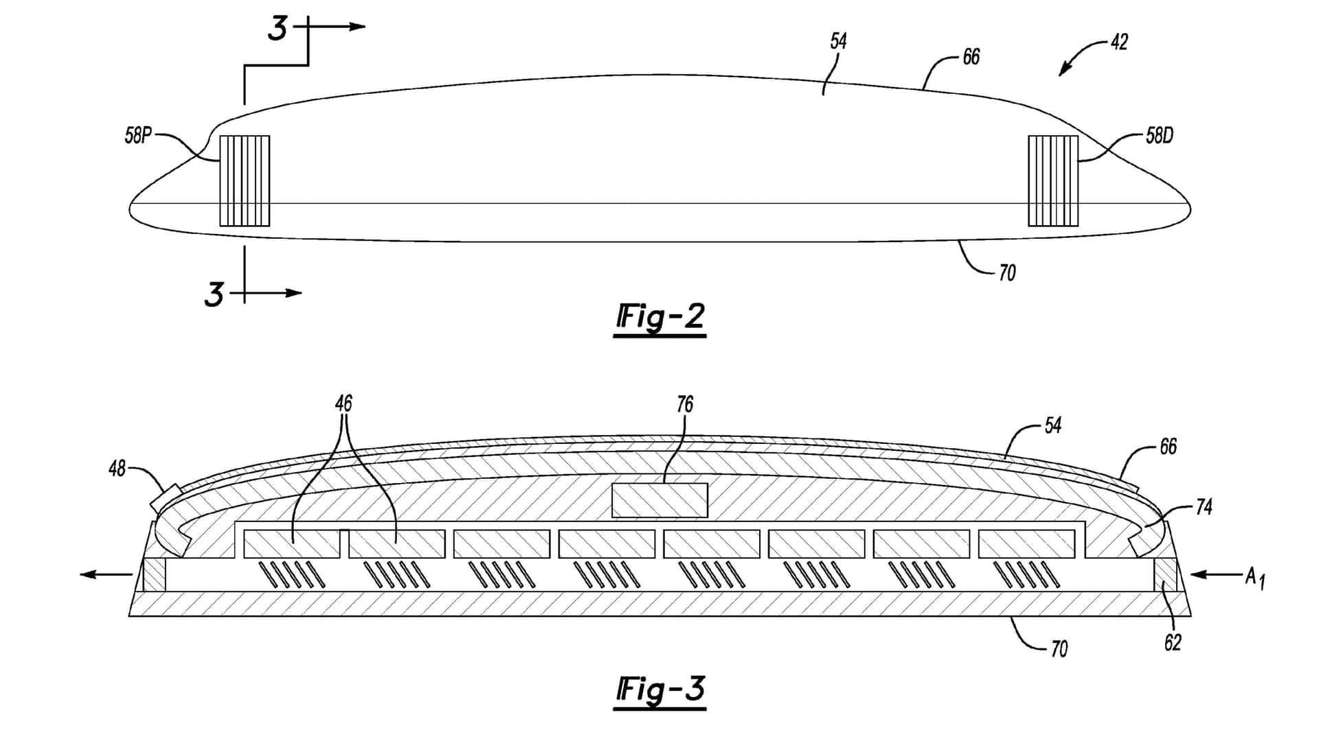
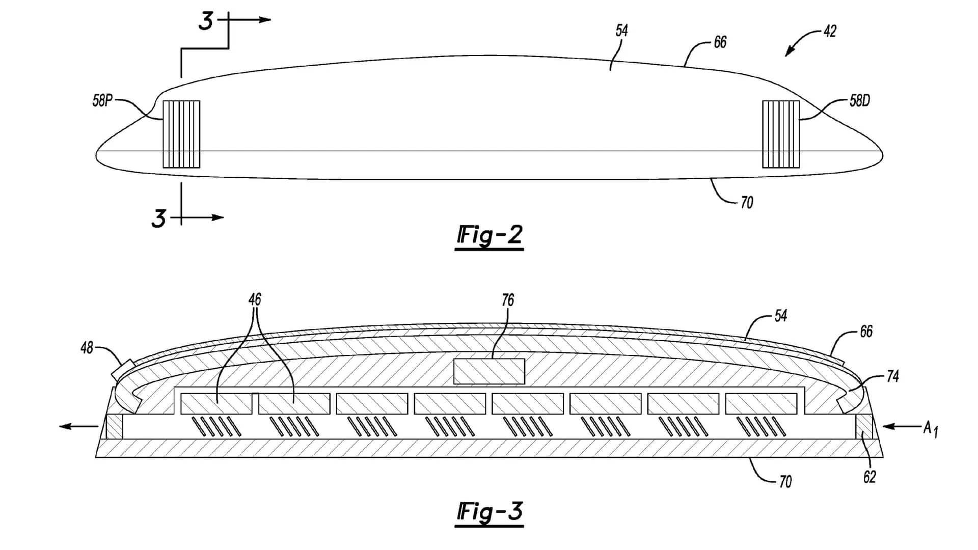
Она запатентовала резервную батарею для электромобилей, которая устанавливается на крыше и заряжает основной аккумулятор. Визуально батарея будет напоминать традиционный багажник. Ее можно снимать и устанавливать по необходимости.

Сообщается, что резервный аккумуляторный блок включает в себя несколько модулей и порт для зарядки. У него есть воздуховоды для охлаждения элементов. Клапаны управляемые, чтобы в блок не попала вода или песок.
Примечательно, что подача питания от резервного блока к основному высоковольтному аккумулятору будет бесперебойной, без какого-либо вмешательства со стороны водителя. Заряжать съемный аккумулятор нужно будет также, как и электромобиль. С помощью шнура, который будет идти в комплекте.




















