
В Ferrari недовольны текущим уровнем технологий электромобилей
Директор по маркетингу Ferrari Энрико Галлиера сообщил, что компания занимается разработкой первого полностью электрического суперкара марки. Правда, появления этого автомобиля придется подождать до 2025-го года.
Такое долгое ожидание связано с тем, что в Ferrari хотят выпустить электромобиль не потому, что так уже сделали другие компании, а потому, что хотят предложить что-то новое. Такое желание итальянцев неудивительно, особенно если вспомнить жалобы генерального директора компании Луи Камиллери на проблемы, с которыми в Маранелло столкнулись во время работы над электромобилем.
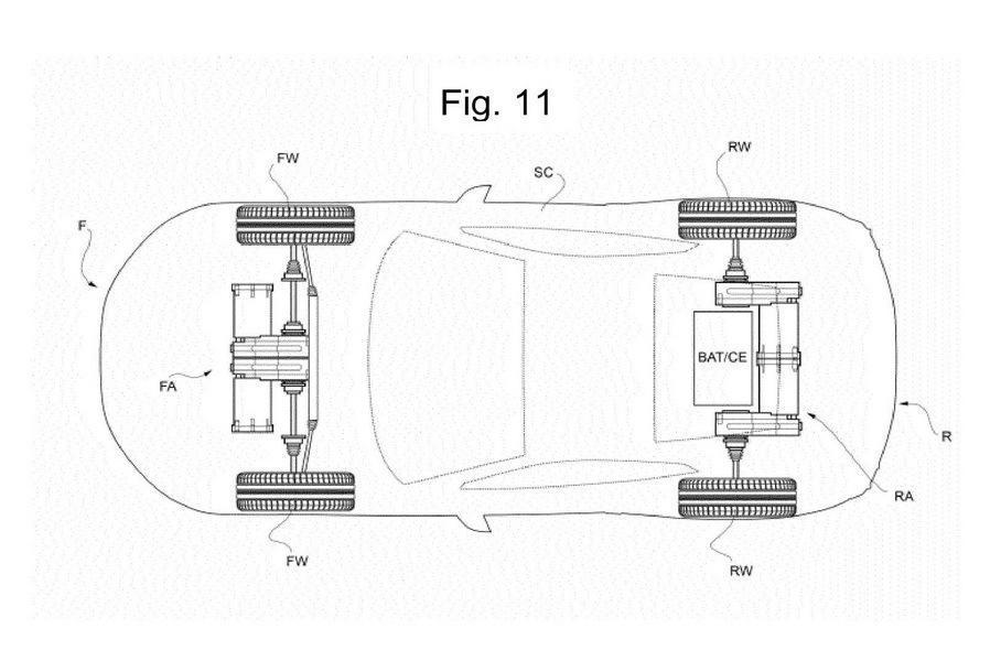
В частности, инженеров не устраивала скорость зарядки аккумуляторов и общий запас хода. Как именно эта проблема будет решена в будущем спорткаре – неизвестно. Пока что мы знаем только то, что есть в патентных документах. А там указано, что компания работает над созданием двухместного суперкара с четырьмя независимыми электромоторами. Каждый из них располагается на отдельном колесе. Такая схема позволит непрерывно корректировать крутящий момент и при необходимости активировать систему рекуперации кинетической энергии.





















