
Роторный двигатель Mazda возродят в 2019 году
Роторно-поршневый двигатель Mazda возвращается. Представители японской компании официально подтвердили, что представят мотор Ванкеля нового поколения в 2019 году.
Однако новый двигатель будет не таким, как его предшественники. Им оснастят первый электромобиль Мазда.
Дело в том, что он будет выполнять роль генератора, вырабатывающего электроэнергию для электромотора. Таким образом удастся увеличить запас хода (подобная технология применена в BMW i3 и Chevrolet Volt).
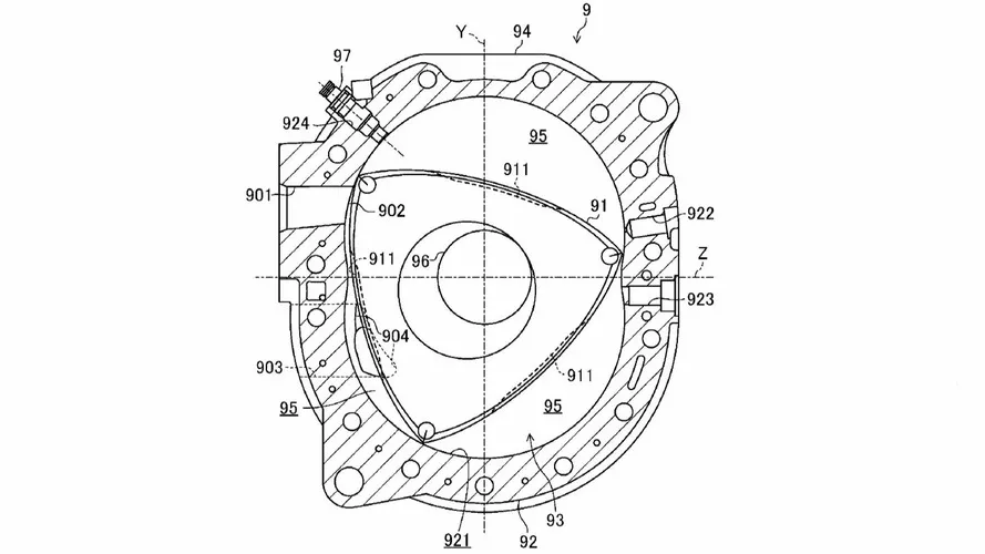
Известно, что двигатель Ванкеля нового поколения будет атмосферным и однороторным. Кроме того, в Mazda заявили, что он будет очень компактным – «не больше, чем коробка для обуви». Также утверждается, что инженеры постарались максимально избавить мотор от вибраций.
В Mazda утверждают, что двигатели внутреннего сгорания продолжат играть важную роль в ближайшие 15-25 лет не только как генераторы, ведь без них невозможны гибриды.



















