
Тoyota запатентувала механічну КП для водіїв-початківців
Доки автолюбителі кохаються в сучасних автоматичних трансмісіях, компанія Тoyota вирішила попрацювати над класичною механічною КП, яка сподобається водіям-початківцям.
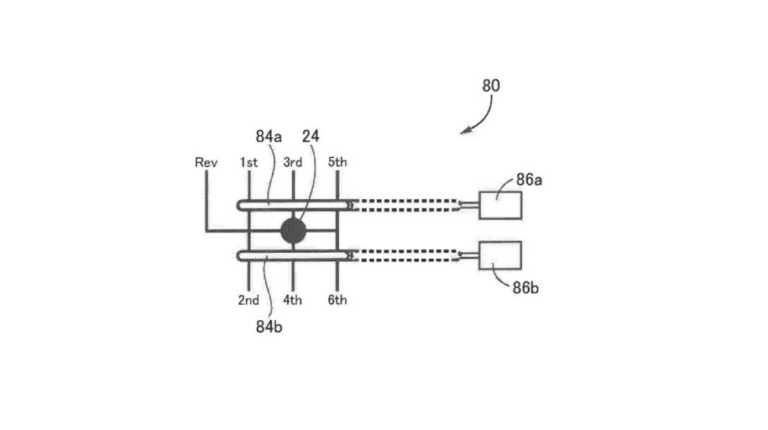
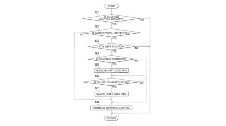
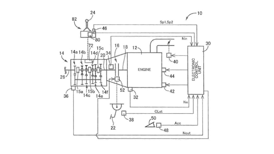
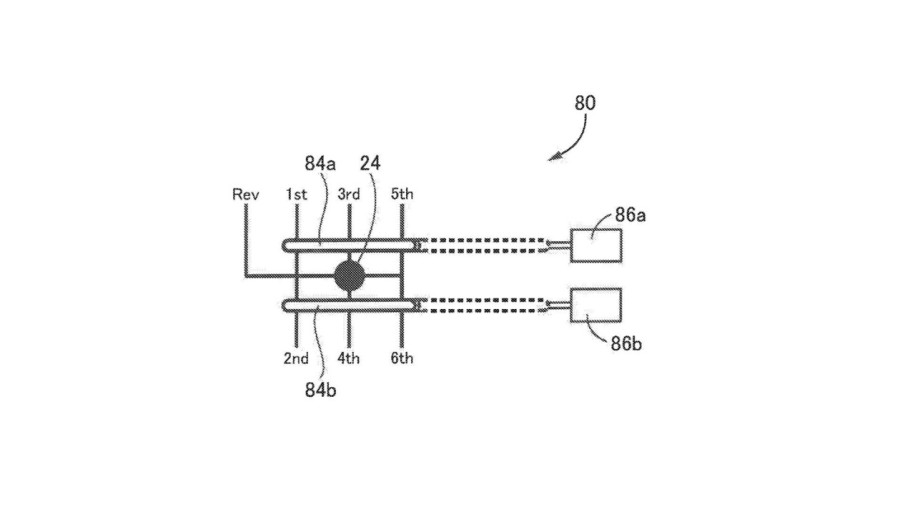
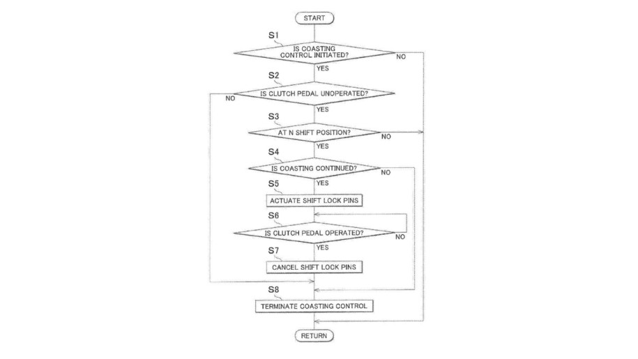
Із серпня на сайті Патентного відомства США з’явилася інформація про новий винахід Тoyota – контролер для механічної КП. Він не дає змоги включити передачу на надмірно високих або низьких обертах, що вберігає трансмісію від поломок або швидкого зношення. Крім того, при скиданні газу, механічна коробка передач сама переходить на «нейтраль», що знижує витрату пального.
Примітно, що функцію автоматичного переходу на «нейтраль» – так званий режим EcoRoll вже повним ходом використовують на роботизованих трансмісіях вантажних автомобілів MAN, Mercedes-Benz і Volvo Trucks. А стосовно нової коробки передач Тoyota, то перспективи її появи на серійних моделях поки що не розголошуються.


























