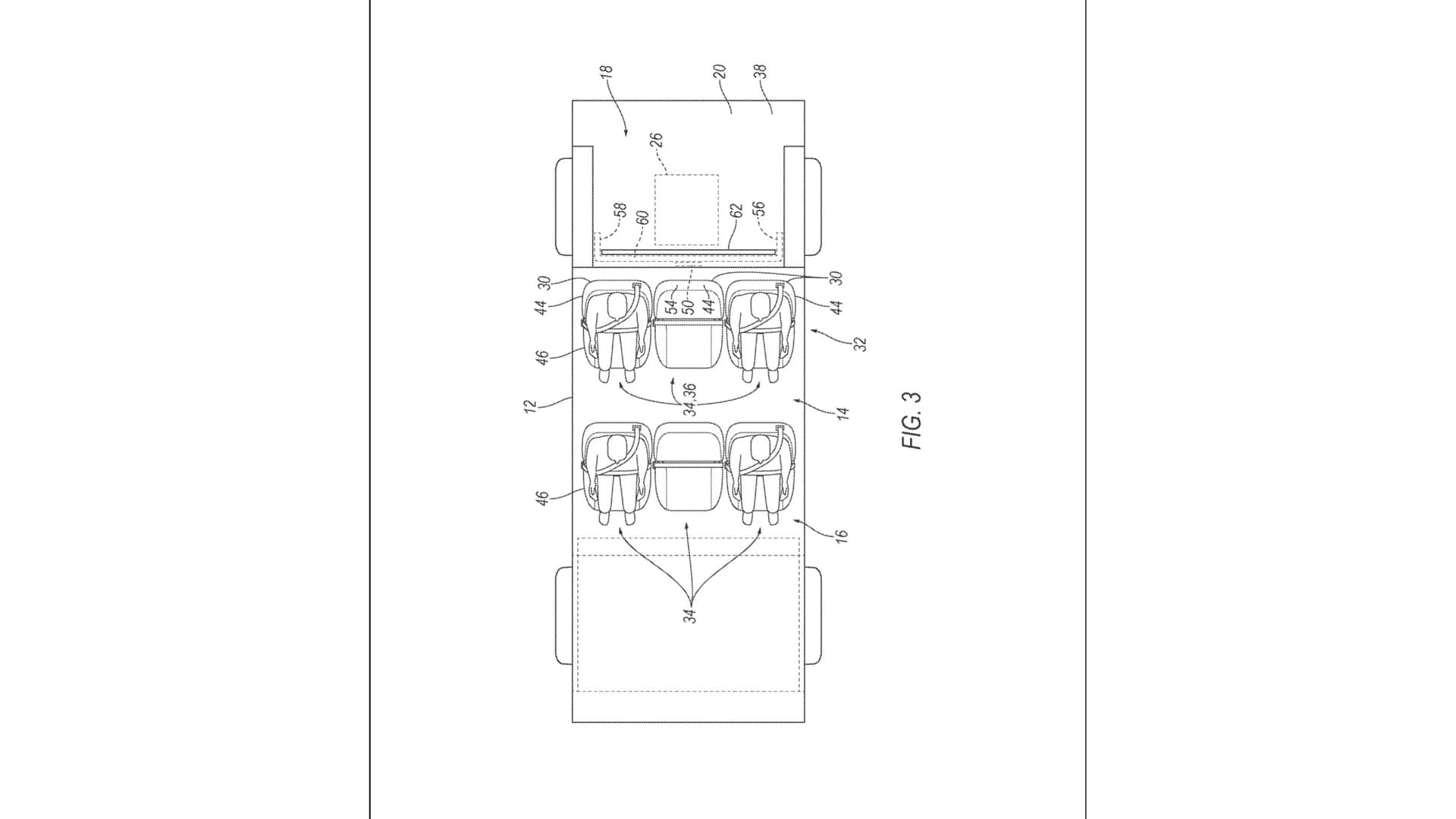
Ford подав патен на подушку безпеки для підлоги, яка захистить пасажирів від падіння незакріплених вантажів при зіткненні. Як зазначено у заявці, технологія призначена для легкових та комерційних автомобілів.
У звичайному стані подушка схована під підлогою багажного відділення за спинками сидінь заднього ряду. Трос та пристрій, який її втягує, заховані за накладкою вздовж бічної стійки. При зіткненні подушка надувається та піднімається за допомогою тросу для прискорення розкриття.

У розгорнутому вигляді вона С-подібна з повернутими в багажник стінами та потенційно дістає даху. В описі системи зазначено, що при розкритті частина подушки виходить за спинку сидіння для захисту голів пасажирів під час зіткнення.
Активується вона так само, як і захист водія. Датчики подушки підключені до комп'ютера. При аварії насос, що її надуває, активує відповідним сигналом.
Чи з'явиться така подушка у серійних автомобілях бренду, інформації немає. Не виключено, що на неї чекає доля величезної кількості патентів, які так і залишилися ідеями.
-
Подія 24 травня 2026 20:20Як презентували автомобіль ЗАЗ із кузовом нового типу -
Ретро 22 травня 2026 21:51Як народжувалися ексклюзивні автомобілі від Pininfarina -
Ретро 19 травня 2026 21:40Як виглядали перші автомобілі марки Buick