
Mazda запатентувала карбонове шасі
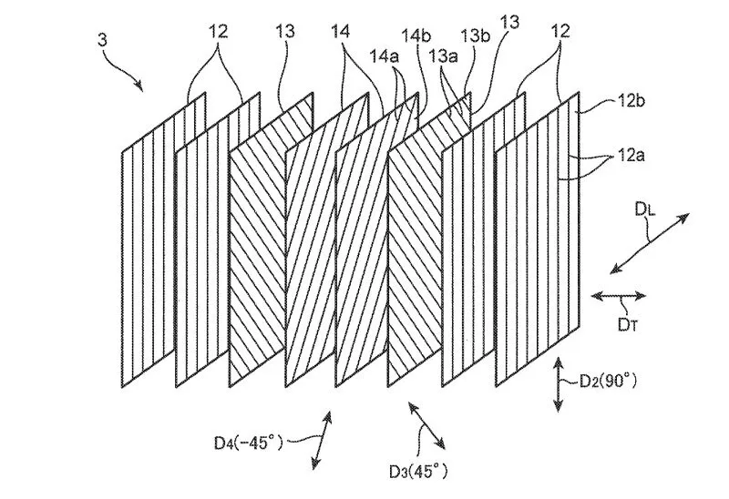
Днями Mazda Motor отримала патенти на автомобільні шасі із композитних матеріалів. Вони описують карбоновий монокок та структуру матеріалу, з якого він виготовлений. Як видно на малюнках, що додаються до патенту, він складається з восьми накладених один на одного шарів вуглецевої тканини з різноспрямованим плетенням. Така структура забезпечує високу міцність матеріалу в усіх напрямків.
Використання композитних матеріалів дозволяє знизити масу автомобіля при збереженні міцності та стійкості до деформацій. Але є у вуглепластику й недоліки. Він тендітний, неремонтопридатний, трудомісткий у виготовленні та дорогий.

В основному вуглепластик використовують у спортивних автомобілях. Як правило, для навісних зовнішніх елементів. Першим великосерійним автомобілем із несучим монококом був BMW i3 2013 модельного року.

Мабуть, Mazda розглядає можливість серійного використання карбонового шасі. Першим його могло б отримати відроджене купе Mazda RX.
Другим правовласником розробки записано концерн Nippon Steel Chemical & Material Co.



















